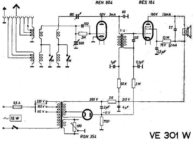
Volksempfänger VE 301 W
![]() |
Gehäuse:
Pressstoff (Bakelit) Maße: 280 x 385 x 177 mm Preis: 76,- RM (mit Röhren) Betriebsart: Wechselstrom Prinzip: Einkreiser MW, LW (200- 2000m) Röhren: RGN354 REN904 RES164 (Preis: 20,75 RM) |
![]() |
![]() |
![]() |
Lautsprecher Chassis: G. Fr. 341 |
Schaltbild:
