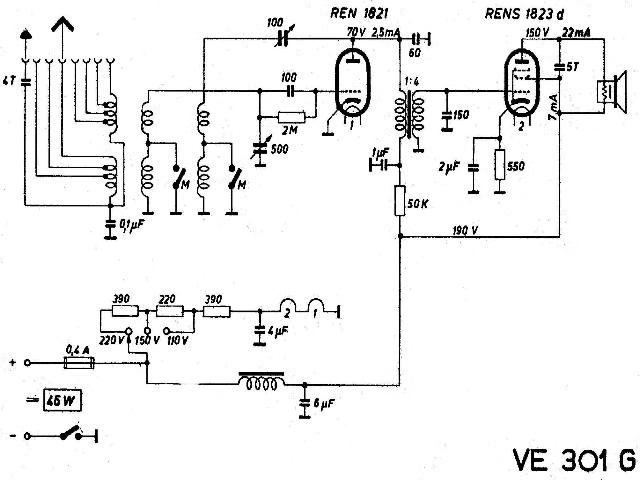
Volksempfänger VE 301 G
![]() |
Gehäuse: Holz
(Eiche) Maße: 295 x 393 x 175 mm Preis: 76,- RM (mit Röhren) Betriebsart: Gleichstrom Prinzip: Einkreiser MW, LW (200- 2000m) Röhren: REN1821 RENS1823d (Preis: 25,25 RM) |
![]() |
Rückwand |
![]() |
Lautsprecher Chassis: G. Fr. 341 |
Schaltbild:
