VE 301 DYN GW
![]() |
Gehäuse:
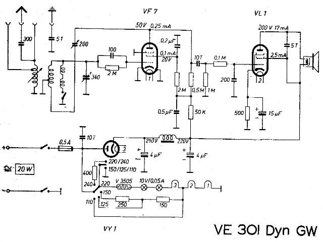
Pressstoff (Bakelit) Maße: 273 x 315 x 185 mm Preis: 74,- RM Betriebsart: Wechselstrom / Gleichstrom Prinzip: Einkreiser MW, LW Röhren: VF7 VL1 VY1 |
![]() |
![]() |
![]() |
![]() |
![]() |
Lautsprecher Chassis: G. Pm. 392 |
Schaltbild:
